After being awarded a patent certificate for industrial invention in 2023 by the Ministry of Enterprise and Made in Italy, GEWISS's Ego Smart, the smart plate of the ChoruSmart ecosystem, has received two more important awards from the Italian Patent Office.
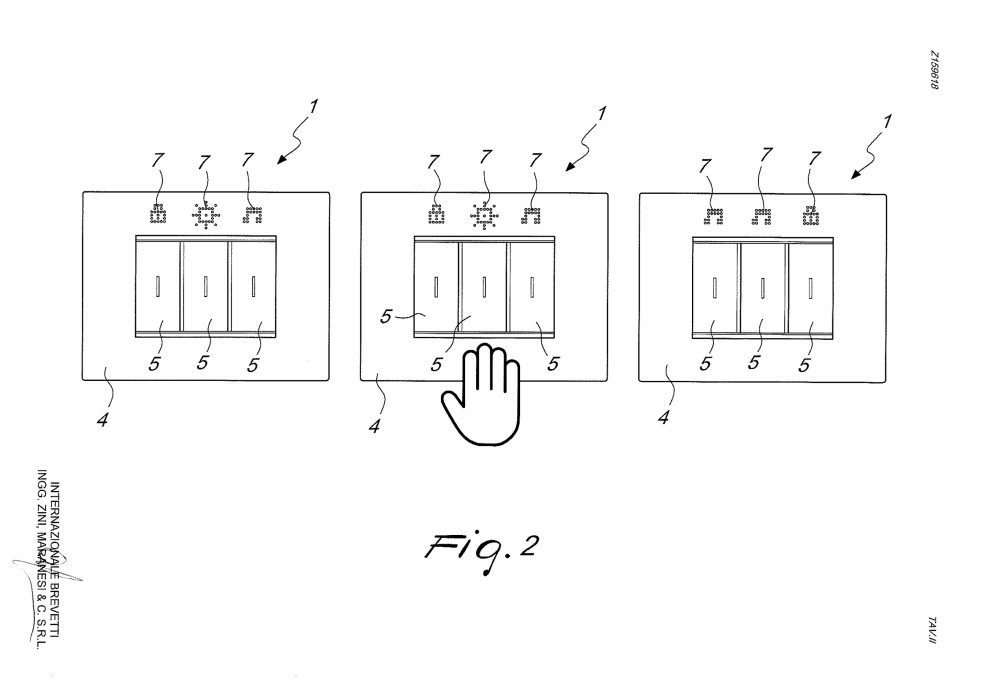
The first patent concerns the possibility of changing the functional status of the fruits associated with the smart plaque through the detection of hand movement by means of the TOF sensor positioned in the center of the plaque itself. The second concerns, on the other hand, the coupling between the smart plate and the flush-mounted box that allows the former to remain adjacent to the wall despite the presence of the electronic components mounted on it.
GEWISS' EGO Smart is the latest-generation faceplate belonging to ChoruSmart, the range of connected and versatile solutions and systems designed to make every function in the home simple. With clean, compact lines, it combines style, practical information, comfort and automation for an amplified living experience. In constant dialogue with the home's Smart devices and sensors, it features an integrated dynamic graphic display, through which text messages scroll and icons change shape to indicate different activated controls. A perimeter LED lighting system also enhances the shapes of the plaque, signaling any alert messages with different colors.
Trending Topics
Share
Related articles
Show other categories
Write to us
Do you need information on Gewiss products or services?
A new home for the Lighting catalogue!
This product is no longer hosted on this website. It can now be found at PERFORMANCE iN LIGHTING | Powered by Gewiss: Go to the website
A new home for the Lighting catalogue!
This product is no longer hosted on this website. It can now be found at PERFORMANCE iN LIGHTING | Powered by Gewiss: Go to the website
Wishlist Management
Operation occurred correctly
Attention – an error has occurred.
Privacy Policy
The privacy policy has been updated. Please review and provide your consent again. Thank you
File download
Access to the “My Gewiss” area is required to download this content
You can enter the Gewiss world by consulting the sites available for each country, differentiated by language, services, and catalogue offerings
Choose your country
Check your country
You are browsing the International site but it seems that you are in {{country}}. Do you want to update your country?
Yes, go to the website for {{country}}
No, stay on the International site
Download the document
Select the document language